2020-09-1714:37
來源: 冷凍食品網 發布者:編輯繼17家“眾品系”企業被法院裁定破產重整后(最新 | 17家“眾品系”企業被法院裁定破產重整),與其“血緣”相近的“鮮易系”企業,也申請破產重整了!
9月15日,“全國企業破產重整案件信息網”公布了河南省長葛市人民法院的一則公告,稱根據許昌鮮易管理人的申請,裁定受理了“鮮易系”15家公司的合并破產重整一案。
這個曾經的生鮮互聯網行業明星,到底遭遇了什么?

??? 1 ???
破產重整之路
“鮮易系”破產重整一事,要從6月3日說起。當日,河南鮮易恒慧工程管理有限公司、河南耕耘財務咨詢有限公司聯合申請許昌鮮易的母公司河南鮮易供應鏈有限公司破產重整。
一個多月后的7月28日,長葛市人民法院發布公告,稱許昌鮮易供應鏈有限公司申請破產重整,該院決定公開選任管理人。8月5日,該院以“(2020)豫1082破4號”為案號,正式受理該破產重整案件。
就此,8月15日前后,許昌市有關方面召開了許昌鮮易供應鏈有限公司及其15家公司合并重整聽證會。
到了9月7日,長葛市人民法院根據許昌鮮易管理人的申請,裁定受理了許昌鮮易供應鏈有限公司、河南鮮易供應鏈有限公司、昆山眾品冷鏈物流有限公司、許昌眾榮冷鏈物流有限公司、鄭州鮮易冷鏈物流有限公司、上海鮮易供應鏈管理有限公司、昆山鮮易供應鏈有限公司、河南冷鏈谷有限公司、河南四季鮮易供應鏈有限公司、深圳前海鮮易金融服務有限公司、深圳前海鮮易商業保理有限公司、深圳前海鮮易融資租賃有限公司、鄭州金色馬甲電子商務有限公司、金色馬甲(北京)物流科技有限公司、昆山金色馬甲電子商務有限公司共15家“鮮易系”公司的合并破產重整一案。
![1600411132332888.png 90~B`]_{[FYNU]YTAW]EWAN.png](/uploadfile/2020/09/18/1600411132332888.png)
△圖片來源:網絡
目前,鮮易系的合并重整已進入實質操作階段,11月2日就將召開第一次債權人會議。
??? 2 ???
總理曾視察,獲過多項殊榮
眾品食業于2013年正式啟動“聯網”,逐步拆分重組為以電商交易為核心的鮮易網、以生豬屠宰為核心的眾品食品、以倉儲物流為核心的鮮易供應鏈三大塊業務,搭建了B2B、O2O等業務模式,從一家單純的肉類加工企業轉型成為集合了“互聯網+”的生鮮供應鏈服務商。
“鮮易系”,作為中國肉制品企業在產業互聯網領域創新的一支先鋒軍,曾經歷多次高光時刻。
2015年9月,李克強總理來河南視察時曾經考察鮮易,彼時鮮易冷凍生鮮平臺的交易量達到36億元,占據行業頭部企業地位。2016年,鮮易供應鏈位列中國冷鏈物流百強企業第二名,同時獲得中國冷藏倉儲第一名的殊榮。

△圖片來源:網絡
到2018年年底,鮮易供應鏈在全國布局了鄭州、昆山和天津三大溫控園區,其城市前置倉分布在全國25個核心節點。公司自有及整合冷藏車輛5900余臺,千余條運輸線路,覆蓋全國28個省、市、自治區。這種開放的、分布式網狀供應鏈體系,可為客戶提供涵蓋溫控倉儲、冷鏈運輸、冷鏈城配、流通加工、國際貿易、產品分銷和供應鏈金融等的溫控一體化服務。
與此同時,該公司投資16億元、占地400畝的中原冷鏈谷建成后是中國最大的冷鏈物流基地,承載著鮮易控股國際化戰略;位于長葛的智慧生鮮供應鏈生態圈計劃投資60億元,成為河南省乃至全國現代物流空間布局體系的重要承接體。
而且,2014—2018年,在中國物流與采購聯合會、全球冷鏈聯盟等單位聯合評出的中國冷鏈物流百強企業榜單中,鮮易供應鏈連續5年位居全國前三甲。

△圖片來源:網絡
不過自2019年開始,它就完全消失在了這份榜單之外。其原因,即與“鮮易系”的發展遭遇整體債務困境有關。
曾在鮮易網供職的一位員工佐證了這一點:“2018年10月前后,眾品旗下的鮮易網在就出現過大范圍欠薪事件,公司數百人工資都被拖欠,員工被迫訴諸勞動仲裁。”
??? 3 ???
“眾品系”+“鮮易系”,破產重整企業達32個!
“眾品系”和“鮮易系”之間,其實早就存在著較為復雜的不容割舍的關聯關系,“一榮俱榮,一損俱損”。
“鮮易系”,以河南鮮易供應鏈有限公司為代表,實控人為朱獻福。

△圖片來源:企查查
“眾品系”,以河南眾品食業股份有限公司為代表,實控人同為朱獻福。
![1600411223727950.png HO9AJ0_9`VD(KDY}LY_]SKK.png](/uploadfile/2020/09/18/1600411223727950.png)
△圖片來源:企查查。點擊查看大圖
2018年8月,上市公司香梨股份終止與眾品食品之間的資產重組,它當時公告的原因是,“眾品食品與河南鮮易供應鏈有限公司、河南鮮易網絡科技有限公司、鄭州金色馬甲電子商務有限公司之間,存在的同業競爭和關聯交易問題一直未能解決”。
而今年6月12日,長葛市人民法院裁定了17家“眾品系”企業合并破產重整,至此,“眾品系”、“鮮易系”先后共有32家企業加入破產重整大軍。
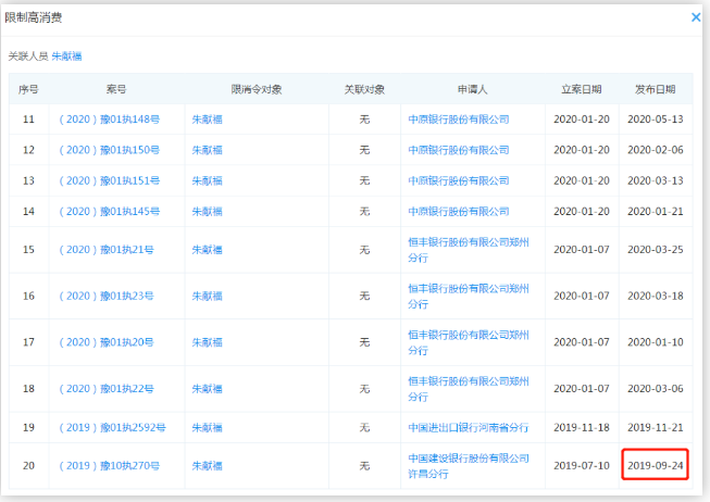
據企查查,“眾品系”和“鮮易系”的掌舵人朱獻福已被限制高消費。其中,由自身失信被限制高消費的,有20條申請,

△圖片來源:企查查
因關聯企業失信被限制高消費的,有152條申請,

△圖片來源:企查查
而且,申請的時間集中在2019年4月至今,申請人主要是各類銀行、證券公司。
??? 4 ???
現狀:經營正常運行
雖然去年到今年,“鮮易系”、“眾品系”公司一直在走破產重整法律程序,但其經營層面仍在正常運行。
冷食君查詢其最新動態發現,9月9日,在青島舉行的2020中國國際肉類產業周期間,河南眾品進出口貿易有限公司還榮獲了“中國肉類食品行業優秀進出口貿易商”稱號。

△圖片來源:網絡
今年3月19日,河南省物流與采購聯合會公布176家A級以上物流企業。其中,包括5A級物流企業11家,許昌鮮易供應鏈有限公司赫然在列。
據了解,破產重整是企業破產法新引入的一項制度,是指專門針對可能或已經具備破產原因但又有維持價值和再生希望的企業,經由各方利害關系人的申請,在法院的主持和利害關系人的參與下,進行業務上的重組和債務調整,以幫助債務人擺脫財務困境、恢復營業能力的法律制度 。而一旦申請獲得批準,則債權人就不能向破產企業催逼債務。
注:部分圖片來源網絡,如有侵權請告知。


300000+
凍品經銷商/渠道商/采購商50000+
凍品行業上下游企業100萬+
凍品人專屬平臺